USB 电缆夹 mini-B (1 个端口)

简介

使用 USB 设备时,可装上 Pro-face USB 电缆夹 mini-B (型号: ZC9USCLMB1),USB 电缆夹可防止断开与 USB 端口的连接。

Danger_Color.gif危险

可能存在爆炸危险

o请确认电源/输入/输出 (I/O) 接线符合 I 级 2 区的接线方式。

o请勿使用可能会削弱对I级2区适用性的替换组件。

o在使用 USB 接口前请确认 USB 电缆紧固夹已安装在 USB 电缆上。

o把任何连接器连接到产品或从产品中拔下之前,请一定要先关闭电源。

oUSB (mini-B) 接口只适合装置维护和设置期间的临时连接。

o请勿在危险位置使用 USB (mini-B) 接口。

不遵循上述说明将导致人员伤亡。

连接 USB 电缆夹

步骤

操作

1

将 USB 电缆插入 USB (mini-B) 接口。

G-SE-0026687.1.gif-high.gif G-SE-0070399.1.gif-high.gif

1 USB 电缆

2 此标记识别有关 USB 夹具 mini-B (1 个端口)的安全信息。

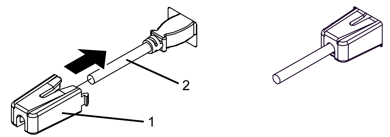
2

加上 USB 电缆夹以使 USB 电缆固定到位。将 USB 座插入 USB (mini-B) 接口。

G-SE-0026688.1.gif-high.gif 

1 USB 电缆夹

2 USB 电缆

卸下 USB 电缆夹

请通过按下边上的凸出部分取下 USB 电缆夹。

G-SE-0026689.1.gif-high.gif